Canon files patent application for a new electromagnet shutter design that aims to minimize shutter shock

Canon has filed a new patent in Japan that aims to reduce the vibrations caused by a mechanical shutter. Japanese patent application number 2022-039332 outlines the issue of shutter shock and proposes a novel design that uses electromagnets to increase the precision of shutter position and control the shutter’s speed to reduce shutter shock.

When translated, the patent states that the issue the patent aims to solve is, ‘In the imaging device, the vibration generated by the shutter is difficult to propagate to other parts, and the shutter is positioned with high accuracy.’ Put another way, the patent describes technology designed to address the problematic vibration caused by a mechanical shutter when you begin your exposure. It isn’t much of an issue with low-resolution cameras, but as you increase the resolution of the sensor, the more likely it is that shutter shock will negatively impact your image quality. The shutter is a very precise mechanical component of a camera, so any shock and vibration can be problematic.

All cameras have to contend with the issue to varying extents and there are ways to minimize the effect of shutter shock, including the use of an electronic shutter or electronic first curtain shutter.

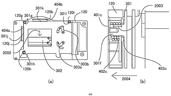
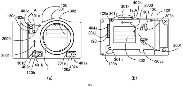
The solution outlined in Canon’s new patent doesn’t translate very well, but here’s the translated text nonetheless: ‘An image pickup device 100 has an image pickup element 103a for taking an image of a subject, a shutter 110 for controlling an exposure time of the image pickup element by traveling a shutter blade 302, and moving the shutter in a plane orthogonal to an image pickup optical axis. It has a holding member 120 that can hold the shutter, and first urging members 402a to 402c that urge the shutter in the first direction in the plane. The shutter has contact portions 301g to 301i that abut on the positioning portions 120g to 120i provided on the holding member and position the shutter at a predetermined position in the first direction. The shutter can move from a predetermined position against the urging force of the first urging member, and the image pickup apparatus is a first cushioning member that abuts on the shutter that returns to the predetermined position by the urging force of the first urging member. It has 404a and 404b. [Selection diagram] FIG. 5.’

Figure 5. Click to enlarge.

In an expanded section of the patent, Canon’s application explains how the movement of the shutter blades vibrates and the vibration propagates to the image sensor itself, resulting in a blurrier image. Canon hopes to solve this issue with a much more precise shutter design. As described by DIY Photography, Canon’s patent describes a mechanism to open and close the shutter with reduced vibrations by using electromagnets. Three of these magnets will work together to control the movement of the shutter and cushion the shutter as it reaches its limit, reducing the vibration caused by the shutter fully opening and closing.

Instead of a shutter reaching its physical limit at maximum speed, therefore roughly hitting an interior component and causing vibration to propagate outward, electromagnets will decelerate the shutter before its limit, softening the blow, so to speak. Less force means less vibration.

Figure 6. Click to enlarge.

There are rumors abound about a new high-resolution EOS R-series camera, so it stands to reason that Canon may be looking at ways to reduce shutter shock given that some of our readers have observed issues with the Canon EOS R5 and its mechanical shutter at certain shutter speeds. It’s not an issue unique to Canon, of course, but if Canon’s patent comes to fruition in a production model, the company may be the first to try to solve it with a sophisticated electromagnetic dampening design. Nikon, on the other hand, opted to ditch a mechanical shutter altogether with its flagship Z9 mirrorless camera.