Canon patent details a variable-magnification 1.0-2.0x teleconverter with image stabilization, variable ND filter

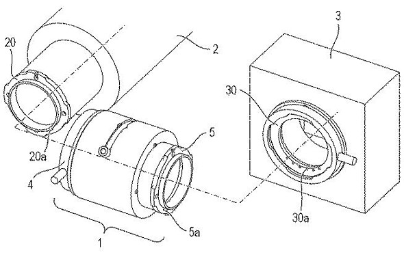
An illustration from the patent application that shows the 1.0x, 1.5x and 2.0x adjustment options on the concept teleconverter.

A recently-filed patent application from Canon shows the company has conceptualized a variable magnification teleconverter adapter. In addition to offering 1x-2x magnification ratio for attached lenses, Canon also states the unit could include built-in optical stabilization and a variable ND filter.

Japanese patent application 2020–197580 was published on December 10. In the overview, Canon describes the the adapter as ‘an adapter device […] between a lens device and a camera device [that] includes a lens barrel, a moving mechanism for moving the lens barrel in the direction of an optical axis, and an operation part for operating the moving mechanism.’

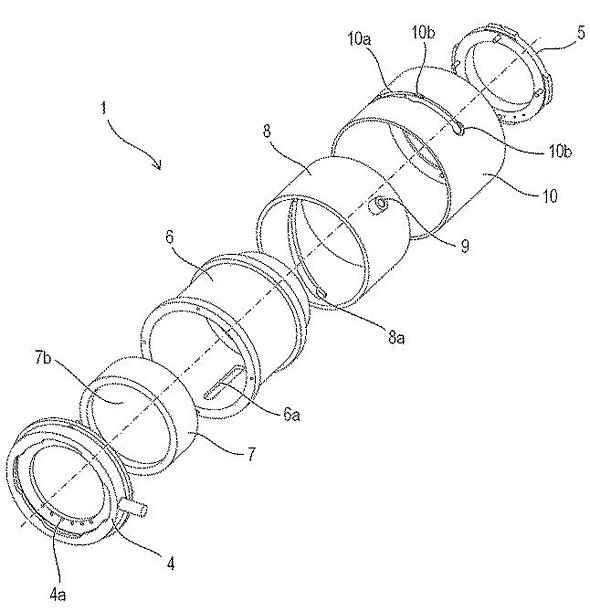
A layer-by-layer breakdown of how such a teleconverter would be pieced together.

The patent illustrations show the schematics for a teleconverter that uses four built-in optical elements, two of which are in a structure attached to a helicoid driving mechanism that will move said elements back and forth along the optical axis to offer more or less magnification when a lever on the outside of the adapter is adjusted. Canon specifically references the ability to adjust between 1x, 1.5x and 2x, with hard-stops at each increment.

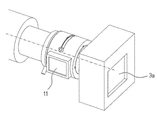
Canon says a display (marked by the 11) could be added to the adapter to display various settings and informations about the adapter, camera and lens being used.

As visible in the above illustration, Canon also shows the potential of using a built-in display to show the current magnification ratio. It’s not hard to imagine such a display could also run the calculation and show the current focal length of the lens when the adapter is at a given magnification ratio with compatible lenses since the adapter will feature contacts for transmitting information between the attached camera and lens.

Note that both the front and rear mounts of this teleconverter are free of any protruding optical elements — something that could make this more versatile than Canon’s current 1.4x and 2.0x teleconverters.

On the topic of compatible lenses, one unique aspect of this teleconverter compared to Canon’s current teleconverters is that it doesn’t have optical elements that stick out behind or in front of the mounting point planes. This means lenses such as Canon’s RF 100–500mm F4.5–7.1 L IS USM, which is currently only partially compatible with Canon’s RF teleconverters, should, in theory, work with this adapter.

To further add intrigue to this concept teleconverter, Canon discloses that such an adapter could also include built-in optical stabilization and a variable ND filter. When you combine those features with the adjustable magnification, such an adapter could effectively take any prime lens and give it both optical image stabilization and ‘zoom’ capabilities—an impressive feat, should it ever come to fruition.

As we all know though, that’s a very large ‘if.’ Many patents never leave the proverbial page and even if they do, the designs can take years to turn into a consumer product. Still though, we can still dream, right?