![]() |
Olympus has patented a sensor technology that records polarization information, potentially allowing in-camera processing to replicate the effect of a polarizing filter but without the light cost. The patent is for a two-layer sensor that records color and brightness information on the top layer, just like a conventional sensor, but then has a second layer underneath that captures information about the polarization of the light arriving at the camera.�
Sunlight starts off unpolarized but can be polarized as it is scattered in the atmosphere and reflected by things it encounters. Selectively cutting out some of this polarized light allows photographers to darken blue skies, increase the contrast of clouds, reduce the glare from reflections on water, and increase the vibrance of foliage. Traditionally this is done using a polarizing filter attached directly to the front of your lens (the effect cannot be replicated in post-processing) but the downside is a significant loss in light transmission.
Why should�this particular patent be of interest�to photographers? Because a camera with a polarization-aware sensor could�theoretically�adjust�for the�polarization of light falling on it from different parts of a scene, allowing for in-camera processing to replicate the photographic benefits of a traditional polarizing filter, but�without the associated light loss�at the point of exposure.
![]() |
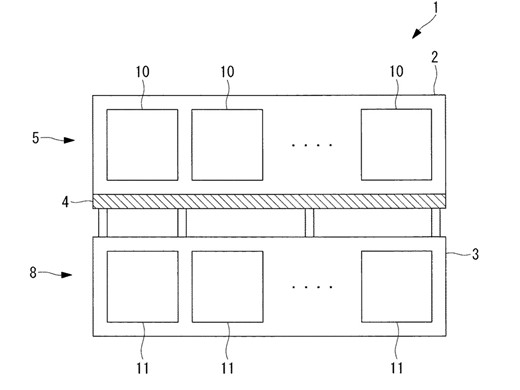
| A longitudinal representation of the dual-layer sensor structure outlined in the patent. |
This isn’t the first attempt we’ve seen to crack this particular problem: Sony was awarded a patent in 2010 that attempted to record color and polarization information in the same pixel, but this�two-layer approach from Olympus, which avoids any conflict between capturing color and polarization information, is novel.



Started out doing photography at the age of 6 using an uncle's old 1940 kodak brownie box camera. At 15 years of age, I decided to buy my very own 1975 Praktica SLR camera. I now shoot with a Nikon D850. I do unpaid TFP and commercial paid work.